Ob Detailhandel, Logistik oder Unterhaltung - Amazon ist in diversen Branchen tätig. Damit nicht genug: Der grösste Onlinehändler hat noch weitere Patente im Feuer, die die Welt verändern könnten.
Gabriel Knupfer
1 / 22
Amazon ist ein Pionier der Automatisierung. Das sind die interessantesten Patente im Bereich der Logistik:
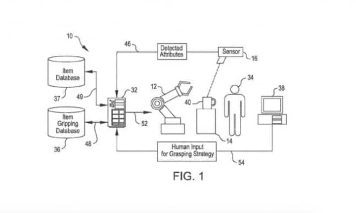
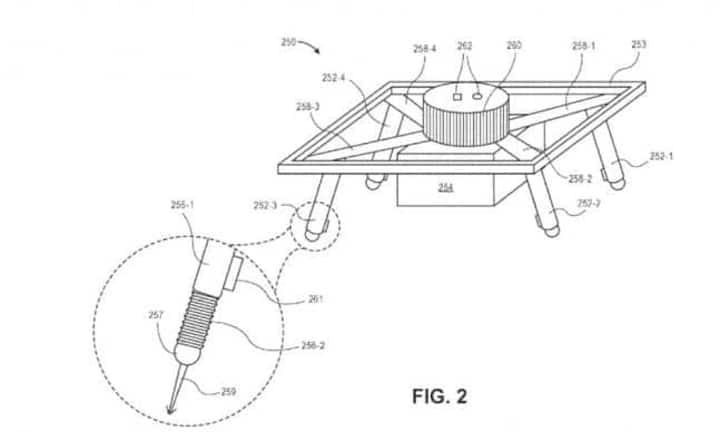
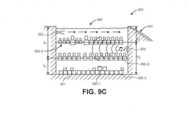
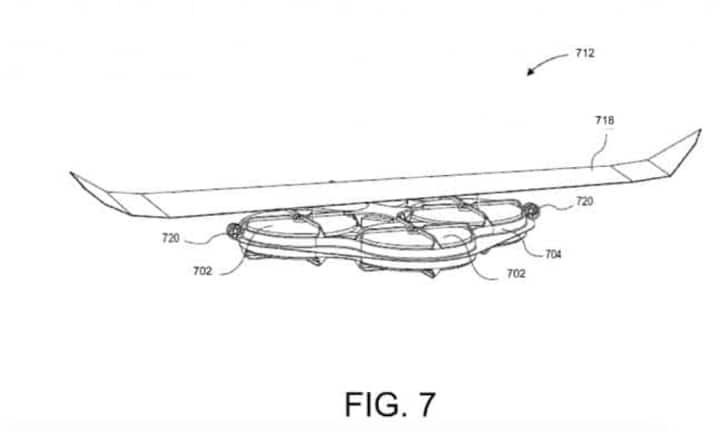
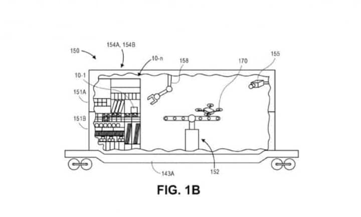
Mobile Drohnenstationen: Mit Drohnenstationen und Lagern in Containern will Amazon immer in der Nähe der Kunden sein. Die Container lassen sich beispielsweise mit der Eisenbahn bewegen (Patent: «Ground-based mobile maintenance facilities for unmaned aerial vehicles»).RMSIm Innern der Container gibt es Einrichtungen zur Wartung der Drohnen. Zudem können Waren gelagert werden. Nur die letzten Kilometer der Auslieferung erfolgen aus der Luft.RMSDie Container lassen sich von verschiedenen Orten einsetzen. Geeignet sind beispielsweise Containerschiffe.RMSEin solches Schiff wäre ein schwimmendes Logistikzentrum. Das spart nicht nur Grundstückkosten, sondern macht auch das mühsame Verladen und Entladen der Waren im Hafen überflüssig.RMSAuch ein Lastwagen könnte als Basis dienen. Dies hätte insbesondere in Kombination mit Technologien im Bereich des autonomen Fahrens, die Amazon ebenfalls erforscht, grosses Sparpotenzial.RMSSchwebende Logistikzentren: Amazon hat sich ein Warenlager ausgedacht, das von einem Luftschiff auf einer Höhe von über 13'000 Metern gehalten wird (Patent: «Airborne fulfillment center utilizing unmanned aerial vehicles for item delivery»).RMSBeliefert wird es mit kleineren Luftschiffen. Die Auslieferung der Pakete wird von Drohnen übernommen. Mit dem Luftschiff kann das Lager über einer Stelle platziert werden, wo eine erhöhte Nachfrage erwartet wird.RMSDie Lieferdrohnen könnten als Gleiter konzipiert werden. Das spart Energie.RMSDrohnentürme: Mit der Idee will Amazon die Lieferzentren vom Stadtrand in die Innenstadt bringen. Die Grundstückfläche wird kleiner, dafür wächst das Gebäude in die Höhe (Patent: «Multi-level fulfillment center for unmanned aerial vehicles»).RMSAmazon schlägt verschiedene Designs für die Drohnenbasen vor. Die Fluggeräte werden im Innern des Turmes beladen – von Robotern oder Menschen – und starten von Plattformen auf verschiedenen Ebenen...RMS... oder aus einem Ausgang auf dem Dach. Mit dem höheren Startpunkt sinkt der Energieverbrauch der Drohnen, was eine grössere Nutzlast ermöglicht.RMSUnterwasserlager: Statt in grossen und teuren Hallen könnten Produkte künftig im Wasser gelagert werden (Patent: «Aquatic storage facilities»).RMSDie Gegenstände werden in einem Behälter aufbewahrt, der die Dichte reguliert und so eine Positionierung an der Oberfläche oder einer bestimmten Tiefe des Gewässers ermöglicht. Wird das versenkte Produkt gebraucht, bläst sich auf ein Signal ein Ballon auf, der den Behälter an die Oberfläche treiben lässt.RMSDie Waren werden auf verschiedenen Ebenen deponiert, häufig gekaufte Produkte schwimmen oben.RMSDas geht nicht nur in Pools, sondern auch in natürlichen Gewässern. Laut Amazon wäre es sogar möglich für die Lieferung die Strömung von Flüssen auszunutzen.RMSDie futuristischen Visionen machen indes nur einen kleinen Teil aller Amazon-Logistikpatente aus. Meistens geht es um kleinere Verbesserungen an Drohnen oder Robotern. Hier eine Einrichtung zum Abwurf von Paketen (Patent: «Stabilized drop delivery»).RMSAmazon lässt auch neue Designs von Drohnen schützen (Patent: «Unmanned aerial vehicle with a tri-wing configuration»).RMSEine wichtiges Problem ist auch die Landung von Drohnen (Patent: «Adjustable landing gear assembly for unmanned aerial vehicles»).RMSTeleskopbeine mit Widerhaken an den Enden sorgen für Halt in unebenem Gelände.RMSAmazon will den Menschen weitgehend aus der Lieferkette verbannen. Das zeigen Entwicklungen im Bereich der Lagerroboter (Patent: «Robotic grasping of items in inventory system»).RMSDie Lagerhallen der Zukunft kommen mit einem Minimum an menschlichem Personal aus.RMSZur Automatisierung des Vertriebs gehört auch das autonome Fahren. Amazon hat ein Patent für eine Methode der Fahrspurzuordnung erhalten (Patent: «Lane assignments for autonomous vehicles»).
Bilder: US Patent and Trademark OfficeRMS
Amazon ist bereits der grösste Onlinehändler der Welt, doch das ist Gründer Jeff Bezos nicht genug. Die in Seattle beheimatete Firma ist heute in fünf gigantischen Geschäftsbereichen tätig – Detailhandel, Logistik, Unterhaltungselektronik, Cloud Computing sowie Medien und Unterhaltung – und will in all diesen Industrien eine Vorreiterrolle einnehmen.
Das zeigt unter anderem die wachsende Zahl der Patente des Konzerns. 2170 Einträge hat Amazon Technologies in der Datenbank des US Patent and Trademark Office seit 2001. Während viele davon im Zusammenhang mit Datenbanken, Streaming und anderen Anwendungen im Internet stehen, haben vor allem die Ideen im Bereich der Logistik viel Potenzial. Amazon setzt auf die Automatisierung des Vertriebs und auf eine Zukunft, in der Drohnen eine zentrale Rolle einnehmen.
Amazon braucht Automatisierung
Als Jeff Bezos 2013 erstmals das Drohnenprogramm von Amazon vorstellte, wurde es teilweise als Marketinggag abgetan. Doch das greift zu kurz. Fragen der Auslieferung sind für die Kostenstruktur des Konzerns von entscheidender Bedeutung. «Der Versand stand immer im Zentrum der strategischen Investitionen von Amazon», schrieb Kolumnist Farhad Manjoo in der «New York Times». Langfristig wolle sich die Firma von den Unwägbarkeiten der Strassen und Menschen lösen.
Amazons Lösung ist eine weitestgehend automatisierte Lieferkette mit roboterisierten Logistikzentren, Drohnen und autonomen Fahrzeugen. Nach einer Zählung der Beratungsfirma CB Insights reichte Amazon alleine 2016 mindestens 78 Patente in diesen Bereichen ein – und diese Zahl könnte noch steigen, weil zwischen dem Einreichen und der Publikation eines Patents mehr als zwei Jahre vergehen können. Einige der Ideen haben das Potenzial die Welt zu verändern, wie die folgende Auflistung zeigt:
Partner-Inhalte
Werbung
1) Mobile Drohnenstationen
Eines der neusten Amazon-Patente skizziert die Möglichkeit von mobilen Drohnenstationen in Containern. Diese können inklusive Waren per Eisenbahn, Schiff oder Sattelschlepper in die Nähe des Zielortes gebracht werden. Nur die letzten Kilometer der Auslieferung erfolgen mit Drohnen. In den Containern können sich laut Amazon nicht nur Waren, sondern beispielsweise auch Roboter zum Verladen und Material zur Wartung der Drohnen befinden.
Wartung, Reparatur, Verladen, Start und Landung können während der Fahrt erledigt werden. Die Vorteile liegen auf der Hand: Die grossen Amazon-Logistikzentren können weiterhin weit ausserhalb der Städte sein, wo die Grundstückpreise niedrig sind. Erwartete Bestellungen sind unterwegs und können in kürzester Zeit ausgeliefert werden. Zudem müssen die Drohnen weniger lang für die Wartung ausser Betrieb gestellt werden.
2) Schwebende Logistikzentren
Noch futuristischer ist eine Idee von 2014, die im letzten Jahr patentiert wurde. Amazon skizziert ein Warenlager, das von einem Luftschiff auf einer Höhe von über 13'000 Metern gehalten wird. Nachschub und wenn nötig Personal werden mit kleineren Luftschiffen vor Ort transportiert. Die Endauslieferung der Pakete übernehmen wieder Drohnen.
Wie die erdgebundenen mobilen Drohnenstationen soll auch das sogenannte Airborne Fulfillment Center (AFC) eine schnelle Lieferung ermöglichen. Amazon könnte das Luftschiff im Voraus über einer Stelle platzieren, wo eine erhöhte Nachfrage erwartet wird – beispielsweise einem Fussballstadion während einem Match. Ein weiterer wichtiger Aspekt: Die Drohnen brauchen beim Flug runter dank der Schwerkraft kaum Energie und könnten möglicherweise als Gleiter konzipiert werden.
Werbung
3) Drohnentürme für Grossstädte
Die bisherigen Standorte der Lieferzentren in Vororten oder auf dem Land seien für Grossstädte nicht zweckmässig, schreibt Amazon in einem weiteren Patentantrag. Mit Lieferzentren in den Innenstädten könnten Waren künftig schneller ausgeliefert werden. Natürlich müssen diese Lieferzentren mit kleineren Grundstückflächen auskommen – und werden deshalb in die Höhe wachsen. Für Drohnenauslieferung ist dies aber ein Vorteil.
Die Skizzen im 22-seitigen Antrag zeigen, wie Drohnenflughäfen in Zukunft aussehen könnten. Die Fluggeräte werden im Innern des Turmes beladen – von Robotern oder Menschen – und starten von zahlreichen Plattformen auf verschiedenen Ebenen. Mit dem höheren Startpunkt sinkt der Energieverbrauch der Drohnen, was eine höhere Nutzlast ermöglicht.
4) Unterwasserlager in Seen, Flüssen und Wassertanks
Ein weiteres Amazon-Patent lotet die Möglichkeiten der Lagerung von Waren im Wasser aus. Die Gegenstände werden in einen Behälter gegeben, der die Dichte reguliert und so eine Positionierung an der Oberfläche oder einer bestimmten Tiefe des Gewässers ermöglicht. Wird das versenkte Produkt gebraucht, bläst sich auf ein Signal ein Ballon auf, der den Behälter an die Oberfläche treiben lässt.
Waren lassen sich so auf verschiedenen Ebenen lagern, wobei die häufig gekauften Dinge oben schwimmen. Als Vorteile dieser Lagerung nennt Amazon im Antrag den quasi unbeschränkten Platz. Zudem müssten heute Roboter oder Arbeiter in den Logistikzentren grosse Distanzen zurücklegen, um die Bestellungen zusammenzusuchen. Ausserdem besteht in Flüssen die Möglichkeit, Waren ohne Energieverbrauch flussabwärts treiben zu lassen.
Werbung
5) Zahlreiche kleine Patente für Drohnen und Roboter
Die futuristischen Visionen machen indes nur einen kleinen Teil aller Amazon-Logistikpatente aus. Ein Grossteil sind kleine Innovationen an Drohnen, Robotern und Fahrzeugen, die sicherheitshalber geschützt werden. Dazu gehören Ideen für Roboterarme, die Fahrspurzuordnung von Autonomen Fahrzeugen, Landevorrichtungen und Stationen für Drohnen oder neue Drohnendesigns (z.B. Dreiflügler).
Natürlich wird längst nicht jede Idee von Amazon irgendwann umgesetzt werden. Techkonzerne sind bekannt dafür, viele Patente anzumelden, damit sich die Idee niemand anders sichern kann. Zudem erlebte Amazon auch gewichtige Fehltritte, beispielsweise mit dem Fire Phone, das sich nicht gegen die Konkurrenz von Apple, Samsung und Co. durchsetzen konnte.
Doch die Stossrichtung ist offensichtlich. Und wenn es Amazon tatsächlich gelingt, das Zeitalter der autonomen Lieferkette einzuläuten, wird die Firma für die Weltwirtschaft eine noch viel disruptivere Rolle einnehmen, als sie es im Buchhandel getan hat.
Die innovativsten Firmen der Schweiz sehen Sie in der Bildergalerie:
1 / 16
Eine Studie der HTP St. Gallen hat basierend auf einer Online-Umfrage unter 526 Führungskräften die innovativsten Unternehmen der Schweiz ermittelt. Das ist die Top 15:RMSPlatz 15 (neu): SBB
Die Schweizerischen Bundesbahnen sind zum ersten Mal im Ranking. Sie profitierten von ihrer App, aber auch die Eröffnung des Gotthards hat Eindruck hinterlassen.
SBB CFF FFSRMSPlatz 14 (Jahr 2012: Platz 11): Coop Der Detailhändler Coop hat im Vergleich zum Vorjahr einige Plätze einbüssen müssen. Trotzdem wird er noch immer in mehreren Bereichen wie Produkte, Kundenerlebnisse und Nachhaltigkeit als innovativ gewertet.
CoopKeystonePlatz 13 (neu): Actelion Neueinsteiger ist das Pharmaunternehmen Actelion, wobei es aufgrund der Übernahme durch Johnson & Johnson das erste und letzte Mal im Ranking gelistet sein wird.
KeystoneRMSPlatz 12 (neu): Ypsomed Das Pharmaunternehmen wird in puncto Produkte als sehr innovativ gesehen.
Ypsomed AGRMSPlatz 11 (neu): Schweizerische Post Als innovativ wahrgenommen wird auch die Schweizerische Post - was eher ungewöhnlich ist. Doch Post-Chefin Susanne Ruoff betätigt sich als unermüdliche Evangelistin der schweizweiten Digitalisierung. So erlangte vor allem etwa das selbstfahrende Postauto viel Aufmerksamkeit.
Schweizerische PostRMSPlatz 10 (Jahr 2012: Platz 13): Sonova/Phonak Der Anbieter von Hörgeräten mit Hauptsitz in Stäfa wurde im Bereich Dienstleistungen als innovativ gewertet.
KeysoneKeystonePlatz 9 (Jahr 2012: Platz 9): Stadler Rail Der Megatrend Mobilität bestätigt sich mit der Platzierung von Stadler Rail.
Stadler RailKeystonePlatz 8 (Jahr 2012: Platz 6): ABB Stark abgeschnitten hat das Technologieunternehmen vor allem in den Kategorien Geschäftsprozesse und Produkte.
KeystoneRMSPlatz 7 (Jahr 2012: Platz 4): Migros (inkl. LeShop) Obwohl sie drei Ränge abgerutscht ist, kann sich die Migros zugutehalten, dass kein anderes Schweizer Unternehmen in so viel verschiedenen Bereichen als innovativ gesehen wird.
KeystoneRMSPlatz 6 (Jahr 2012: Platz 3): Novartis Der Pharmariese ist wegen seiner Produkte das sechst innovativste Unternehmen der Schweiz.
KeystoneRMSPlatz 5 (Jahr 2012: Platz 2): Nestlé (inkl. Nespresso) Der Nespresso-Boom ist vorbei und Nestlé büsst drei Plätze im Vergleich zum letzten Ranking im Jahr 2012.
KeystoneRMSPlatz 4 (Jahr 2012: Platz 1): Swatch Group Der Sieger des letzten Rankings kann nicht mehr auf dem Treppchen Platz nehmen. Die Zurückhaltung beim Thema Smartwatch im Vergleich zur Konkurrenz dürfte sich gerächt haben.
KeystoneRMSPlatz 3 (Jahr 2012: Platz 8): Swisscom Der grösste Schweizer Telekom-Anbieter wird nicht nur aufgrund seiner Produkte als innovativ bewertet, auch die Dienstleistungen und Kundenerlebnisse sind attraktiv.
KeystoneRMSPlatz 2 (Jahr 2012: Platz 7): Logitech Der Computerzubehör-Hersteller konnte im Vergleich zum letzten Ranking einen grossen Sprung hinlegen.
KeystoneKeystonePlatz 1 (Jahr 2012: Platz 5): Roche Der Pharmariese Roche wird zurzeit als innovativstes Unternehmen der Schweiz wahrgenommen. Die knapp zehn Milliarden Franken an Investitionen haben sich also gelohnt.
KeystoneRMS