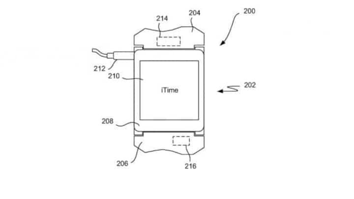
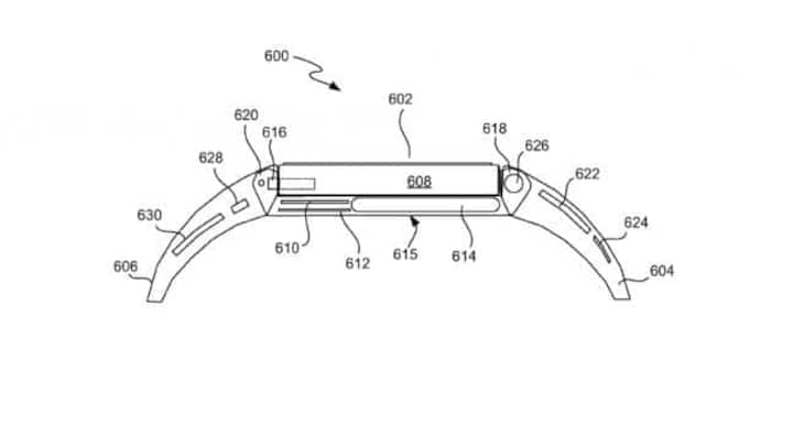
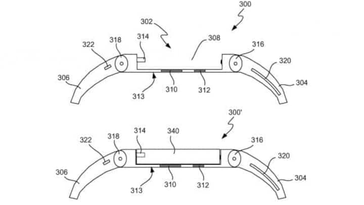
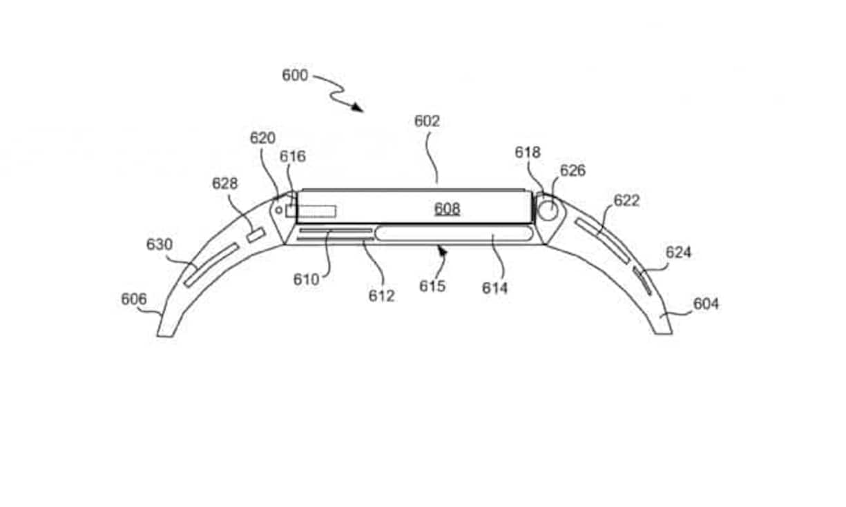
So soll Apples «iWatch» aussehen
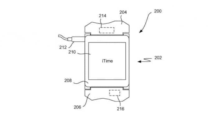
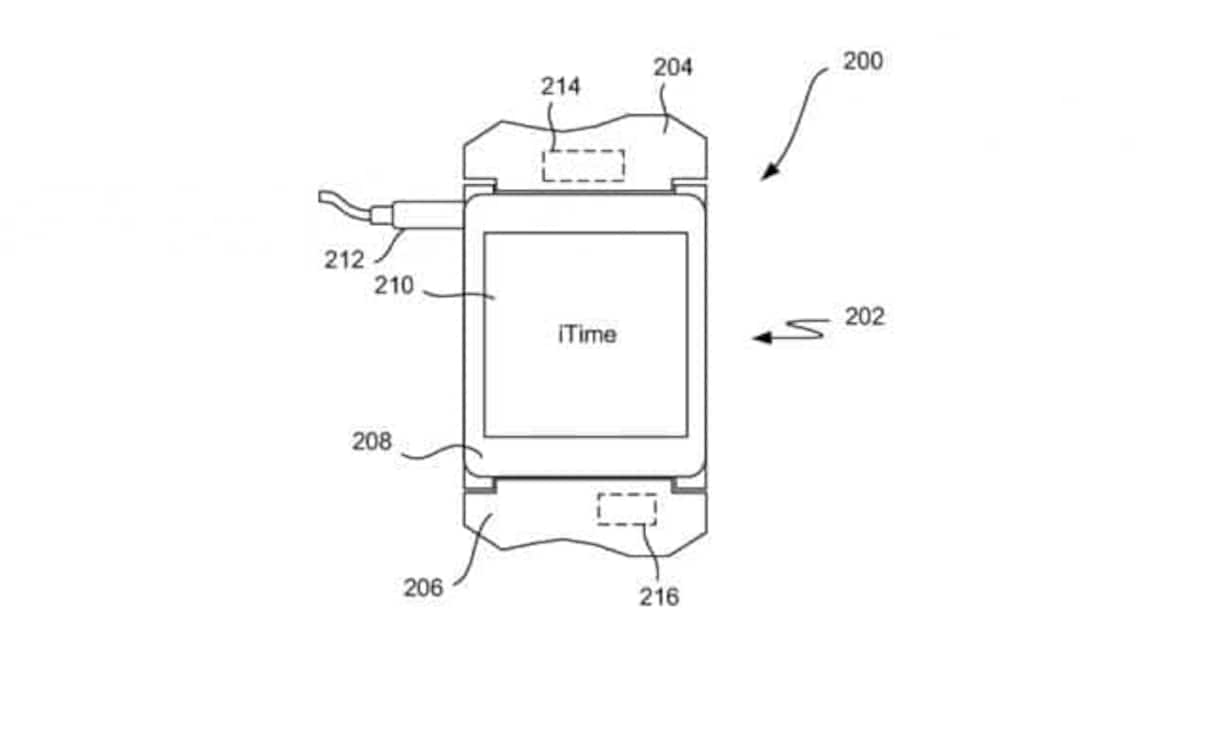
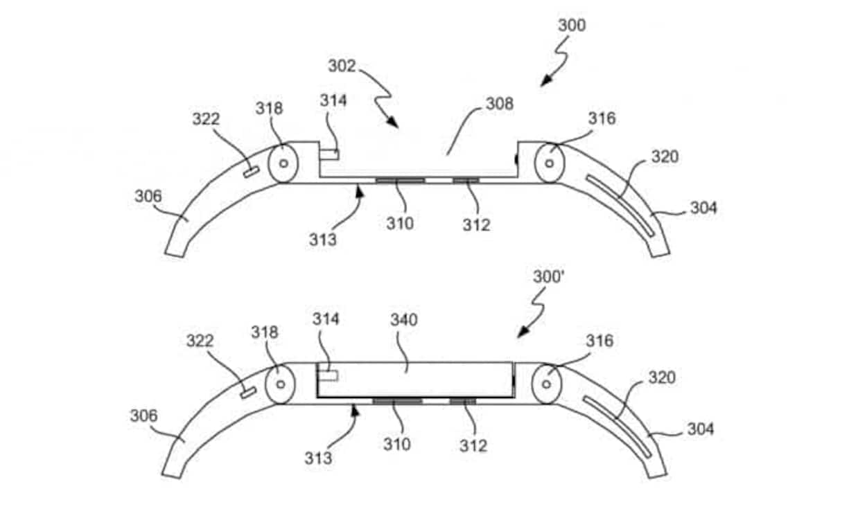
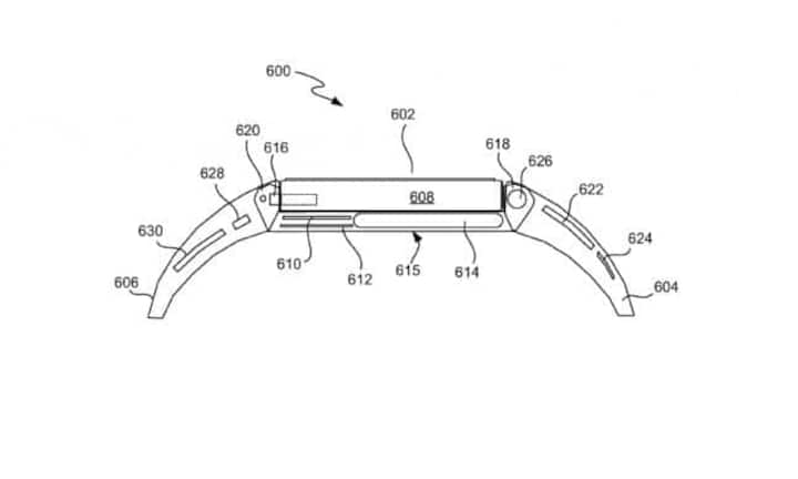
Seit geraumer Zeit schon kursieren Gerüchte über die neue Produktinnovation von Apple. Beim US-Patentamt in Kalifornien soll der Technologieriese nun seine «elektronische Armbanduhr» angemeldet haben.
5 Bilder


Werbung







