Die interessantesten Patente von Amazon
Amazon ist bereits der grösste Onlinehändler der Welt, doch das ist Gründer Jeff Bezos nicht genug. Der US-Gigant ist ein Pionier der Automatisierung, insbesondere in der Drohnentechnologie.

Auch ein Lastwagen könnte als Basis dienen. Dies hätte insbesondere in Kombination mit Technologien im Bereich des autonomen Fahrens, die Amazon ebenfalls erforscht, grosses Sparpotenzial.

Auch ein Lastwagen könnte als Basis dienen. Dies hätte insbesondere in Kombination mit Technologien im Bereich des autonomen Fahrens, die Amazon ebenfalls erforscht, grosses Sparpotenzial.
Werbung

Schwebende Logistikzentren: Amazon hat sich ein Warenlager ausgedacht, das von einem Luftschiff auf einer Höhe von über 13'000 Metern gehalten wird (Patent: «Airborne fulfillment center utilizing unmanned aerial vehicles for item delivery»).

Schwebende Logistikzentren: Amazon hat sich ein Warenlager ausgedacht, das von einem Luftschiff auf einer Höhe von über 13'000 Metern gehalten wird (Patent: «Airborne fulfillment center utilizing unmanned aerial vehicles for item delivery»).

Beliefert wird es mit kleineren Luftschiffen. Die Auslieferung der Pakete wird von Drohnen übernommen. Mit dem Luftschiff kann das Lager über einer Stelle platziert werden, wo eine erhöhte Nachfrage erwartet wird.

Beliefert wird es mit kleineren Luftschiffen. Die Auslieferung der Pakete wird von Drohnen übernommen. Mit dem Luftschiff kann das Lager über einer Stelle platziert werden, wo eine erhöhte Nachfrage erwartet wird.

Die Lieferdrohnen könnten als Gleiter konzipiert werden. Das spart Energie.

Die Lieferdrohnen könnten als Gleiter konzipiert werden. Das spart Energie.

Drohnentürme: Mit der Idee will Amazon die Lieferzentren vom Stadtrand in die Innenstadt bringen. Die Grundstückfläche wird kleiner, dafür wächst das Gebäude in die Höhe (Patent: «Multi-level fulfillment center for unmanned aerial vehicles»).

Drohnentürme: Mit der Idee will Amazon die Lieferzentren vom Stadtrand in die Innenstadt bringen. Die Grundstückfläche wird kleiner, dafür wächst das Gebäude in die Höhe (Patent: «Multi-level fulfillment center for unmanned aerial vehicles»).

Amazon schlägt verschiedene Designs für die Drohnenbasen vor. Die Fluggeräte werden im Innern des Turmes beladen – von Robotern oder Menschen – und starten von Plattformen auf verschiedenen Ebenen...

Amazon schlägt verschiedene Designs für die Drohnenbasen vor. Die Fluggeräte werden im Innern des Turmes beladen – von Robotern oder Menschen – und starten von Plattformen auf verschiedenen Ebenen...

... oder aus einem Ausgang auf dem Dach. Mit dem höheren Startpunkt sinkt der Energieverbrauch der Drohnen, was eine grössere Nutzlast ermöglicht.

... oder aus einem Ausgang auf dem Dach. Mit dem höheren Startpunkt sinkt der Energieverbrauch der Drohnen, was eine grössere Nutzlast ermöglicht.
Werbung

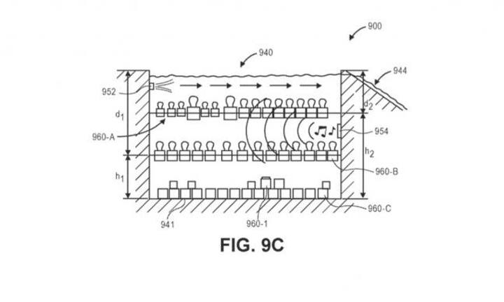
Unterwasserlager: Statt in grossen und teuren Hallen könnten Produkte künftig im Wasser gelagert werden (Patent: «Aquatic storage facilities»).

Unterwasserlager: Statt in grossen und teuren Hallen könnten Produkte künftig im Wasser gelagert werden (Patent: «Aquatic storage facilities»).

Die Gegenstände werden in einem Behälter aufbewahrt, der die Dichte reguliert und so eine Positionierung an der Oberfläche oder einer bestimmten Tiefe des Gewässers ermöglicht. Wird das versenkte Produkt gebraucht, bläst sich auf ein Signal ein Ballon auf, der den Behälter an die Oberfläche treiben lässt.

Die Gegenstände werden in einem Behälter aufbewahrt, der die Dichte reguliert und so eine Positionierung an der Oberfläche oder einer bestimmten Tiefe des Gewässers ermöglicht. Wird das versenkte Produkt gebraucht, bläst sich auf ein Signal ein Ballon auf, der den Behälter an die Oberfläche treiben lässt.

Die Waren werden auf verschiedenen Ebenen deponiert, häufig gekaufte Produkte schwimmen oben.

Die Waren werden auf verschiedenen Ebenen deponiert, häufig gekaufte Produkte schwimmen oben.
Werbung

Das geht nicht nur in Pools, sondern auch in natürlichen Gewässern. Laut Amazon wäre es sogar möglich für die Lieferung die Strömung von Flüssen auszunutzen.

Das geht nicht nur in Pools, sondern auch in natürlichen Gewässern. Laut Amazon wäre es sogar möglich für die Lieferung die Strömung von Flüssen auszunutzen.

Die futuristischen Visionen machen indes nur einen kleinen Teil aller Amazon-Logistikpatente aus. Meistens geht es um kleinere Verbesserungen an Drohnen oder Robotern. Hier eine Einrichtung zum Abwurf von Paketen (Patent: «Stabilized drop delivery»).

Die futuristischen Visionen machen indes nur einen kleinen Teil aller Amazon-Logistikpatente aus. Meistens geht es um kleinere Verbesserungen an Drohnen oder Robotern. Hier eine Einrichtung zum Abwurf von Paketen (Patent: «Stabilized drop delivery»).

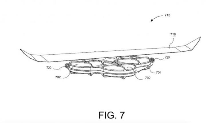
Amazon lässt auch neue Designs von Drohnen schützen (Patent: «Unmanned aerial vehicle with a tri-wing configuration»).

Amazon lässt auch neue Designs von Drohnen schützen (Patent: «Unmanned aerial vehicle with a tri-wing configuration»).
Werbung

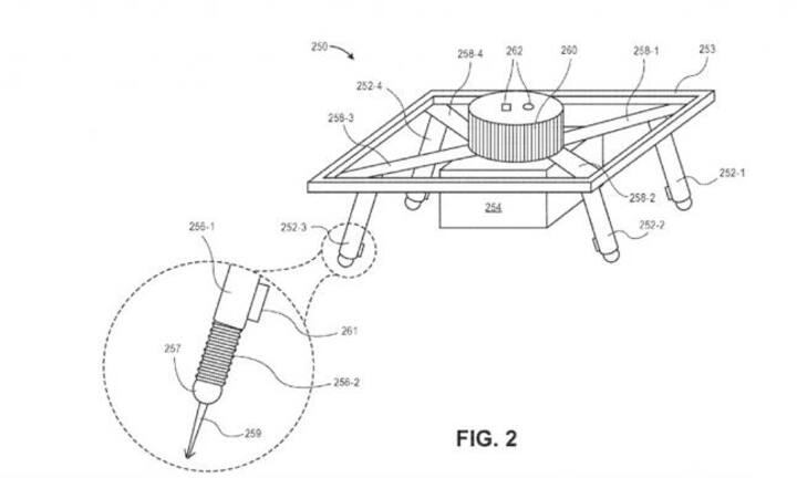
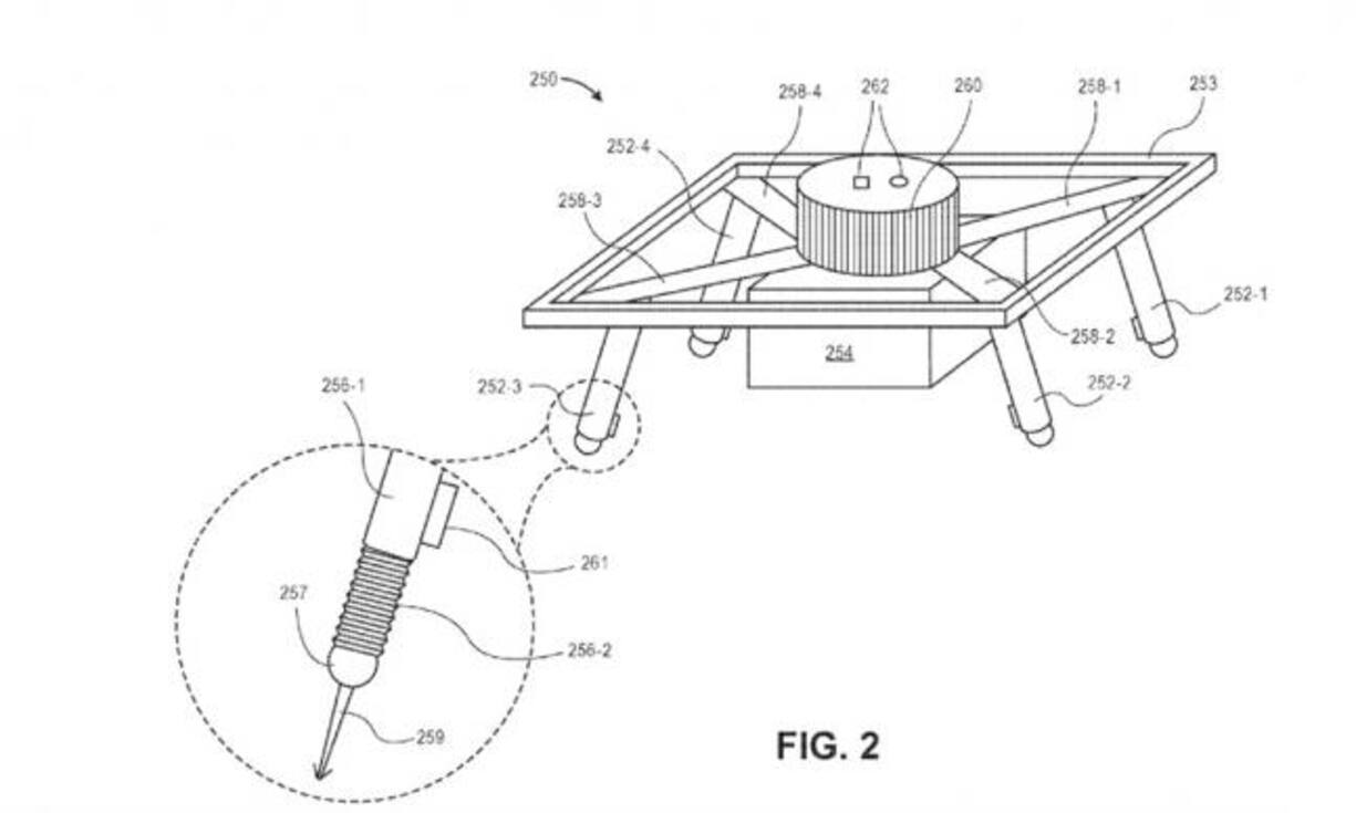
Eine wichtiges Problem ist auch die Landung von Drohnen (Patent: «Adjustable landing gear assembly for unmanned aerial vehicles»).

Eine wichtiges Problem ist auch die Landung von Drohnen (Patent: «Adjustable landing gear assembly for unmanned aerial vehicles»).

Teleskopbeine mit Widerhaken an den Enden sorgen für Halt in unebenem Gelände.

Teleskopbeine mit Widerhaken an den Enden sorgen für Halt in unebenem Gelände.

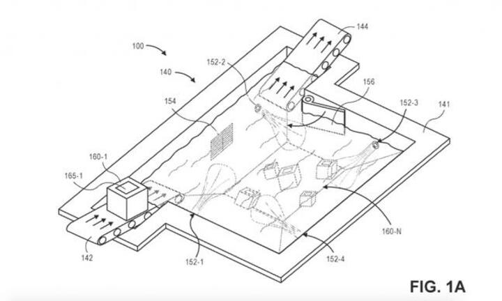
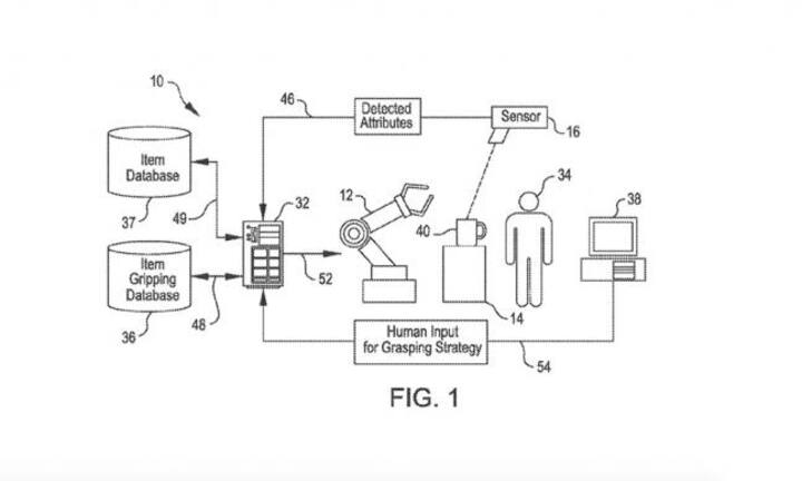
Amazon will den Menschen weitgehend aus der Lieferkette verbannen. Das zeigen Entwicklungen im Bereich der Lagerroboter (Patent: «Robotic grasping of items in inventory system»).

Amazon will den Menschen weitgehend aus der Lieferkette verbannen. Das zeigen Entwicklungen im Bereich der Lagerroboter (Patent: «Robotic grasping of items in inventory system»).
Werbung

Die Lagerhallen der Zukunft kommen mit einem Minimum an menschlichem Personal aus.

Die Lagerhallen der Zukunft kommen mit einem Minimum an menschlichem Personal aus.

Zur Automatisierung des Vertriebs gehört auch das autonome Fahren. Amazon hat ein Patent für eine Methode der Fahrspurzuordnung erhalten (Patent: «Lane assignments for autonomous vehicles»). Bilder: US Patent and Trademark Office

Zur Automatisierung des Vertriebs gehört auch das autonome Fahren. Amazon hat ein Patent für eine Methode der Fahrspurzuordnung erhalten (Patent: «Lane assignments for autonomous vehicles»). Bilder: US Patent and Trademark Office